Lave vaisselle NEFF, la boîte à lessive ne s’ouvre plus automatiquement pendant le lavage. Est-il possible d’avoir le schéma électrique de cet appareil : S53E53X3EU/33 - FD: 8904. Merci à tous.
Bonjour,
votre référence d’appareil n’est pas bonne je pense…
re vérifier l’étiquette signalétique sur votre lave-vaisselle la bonne référence commence par E-NR.
Cordialement
Bonjour Alexswo,
Dans le rectangle où est gravée la référence du lave-vaisselle, il y a bien en haut à gauche E-Nr.
Sur la ligne en dessous, il y a la référence S54E53X3EU/33
En dehors du rectangle, sur la droite il y a, à la même hauteur que E-Nr la référence 40412256001998 puis en dessous, l’inscription : Type SL155J1F
Je pense que c’est une série limitée pour le cuisiniste Schmidt chez qui je l’ai acheté.
Mon problème, je pense, c’est que la pièce rouge qui est reliée électriquement à la boîte à produits s’est détachée lorsque j’ai démonté la porte et je ne vois pas où la replacer.
Merci pour ton aide.
Je te joins mon portable au cas où : 06 87 75 67 52
Cordialement
Gérard Catany
Bonjour,
Avec « S54 » au lieu de « S53 » , ça va mieux !
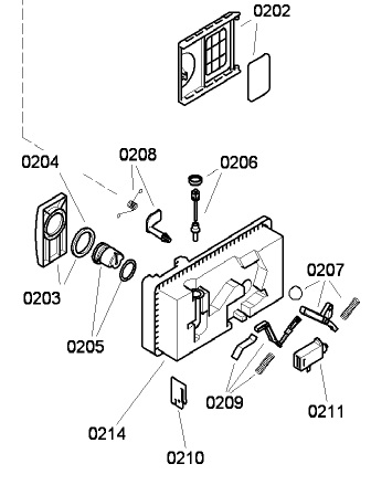
Cette boite, s’il fallait la changer , est disponible ici .
En revanche, si c’est juste un problème de branchement, je pense qu’en refixant l’electro-aimant ( 0211) correctement
sur le levier d’ouverture 0207 , ça devrait repartir.
Pour voir si ça fonctionne , et avant tout démonter/remonter plusieurs fois , il suffit d’actionner le levier à la main après avoir
fermé la boite . En principe , elle doit se rouvrir sous l’effet du ressort.
