bonjour
quelqu’un a t il par hasard démonté la porte de ce four pour changer le joint ?
Bonjour,
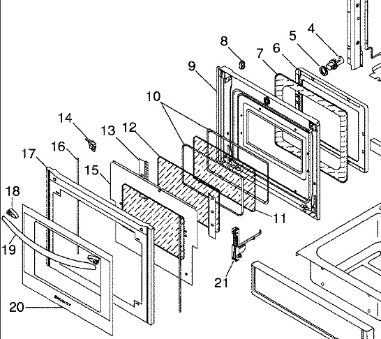
Pour démonter le joint, il faut commencer par enlever la porte .
Pour cela, il faut bloquer les charnières avant de désolidariser la porte.
Ensuite, il faut enlever la poignée et il sera alors facile d’accéder à “l’intérieur” en enlevant la vitre.
Je vous conseille de travailler au sol sur une surface pas trop dure (évitez le carrelage : les vitres n’apprécieraient pas
)
mais qui ne crains rien car vous trouverez forcement des saletés entre les vitres…
Le joint est coincé entre 6 et 9 sur la vue :

merci des conseils